Hier finden Sie unser Angebot an Spannschrauben, S-Haken und Blechverladehaken als Zubehör für ihr Hebesystem. Dabei werden S-Haken und Blechverladehaken in der Regel als Lastaufnahmemittel in einem Hebe- oder statischen System genutzt. Spannschrauben dagegen werden oftmals für die Längenverstellung bzw. den Lastenausgleich in einem Anschlagmittelsystem verwendet.

Spannschrauben und Haken

1. Blechverladehaken

Einsatz:

Blechverladehaken dürfen nur bestimmungsgemäß zum Transport von Blechpaketen und Einzelblechen verwendet werden. Die zulässige Belastung nach der Materialstärke des Blechverladehakens darf nicht überschritten werden.

 

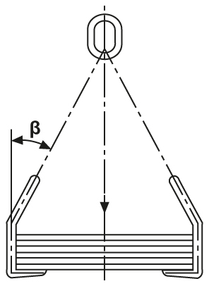
Handhabung BlechverladehakenHandhabung:

Die Last muss so angeschlagen werden, dass der Neigungswinkel β 30 bis 45° beträgt und die Anschlagkette mit der Kröpfung der Anschlagmittel eine Linie bildet. Die Last muss formschlüssig auf beiden Schenkeln aufliegen. Die Belastung an der Spitze der Blechverladehaken ist verboten! Der Transport darf nur in Bodennähe und nicht über Personen hinweg erfolgen!

 

2. Spannschrauben

Einsatz:

Spannschrauben werden zur Längenverstellung bzw. den Lastenausgleich beim Takeln und Verspannen von Drahtseilen, Ketten, Rundschlingen oder Kabeln benutzt. Generell sind Spannschrauben für die geradlinige Montage, zum Verspannen oder Verzurren verwendet. 

Gebrauchsanweisung am Beispiel der Green Pin Polar® Spannschraube JJ BN:

Spannschrauben dürfen nur geradlinigen Zugbelastungen ausgeliefert werden, die in einer Flucht zur Mittelachse der Spannschraube liegen müssen. Besonders ist darauf zu achten, dass die Produkte nicht überbelastet werden. Während des Spannvorganges ist darauf zu achten, dass die aufgewandten Kräfte die Spannschraube nicht verformen. Im Falle einer solchen Verformung ist der Spannvorgang umgehend abzubrechen und das deformierte Teil zu ersetzen. Könnten extreme Umstände oder Stossbelastungen auftreten, so ist dies bei der Wahl des zu verwendenden Produktes zu berücksichtigen. Zum Takeln von Kabeln, Seilen oder Stäben usw. sind Green Pin® Spannschrauben zu verwenden. Die WLL Grenzen sollten mit einem gleichmäßigen Zug erreicht werden, eine Überbelastung ist zu vermeiden. Seitliche
Belastungen sollten ebenfalls vermieden werden, da die Produkte für einen solchen Fall nicht ausgelegt sind. Handelsübliche Spannschrauben werden zum Spannen von Kabeln und Seilen mit geringer Beanspruchung eingesetzt (z.B. im Zaunbau). Es ist erforderlich, dass die Produkte regelmäßig einer Überprüfung unterzogen werden. Die Überprüfung muss mindestens nach den Standards des jeweiligen Landes geschehen, in welchem die Produkte eingesetzt werden. Dies ist notwendig, weil die im Einsatz befindlichen Produkte durch Verschleiß, falschen Gebrauch usw. deformiert werden können und sich somit die Materialstruktur verändert.

Weitere Informationen

Werfen Sie auch einen Blick auf weitere Anschlagmittel, wie Anschlagseile, Anschlagpunkte und Anschlagketten, in unserem Sortiment

 

Flexibilität in Produktaufbau, Stückzahlen und Lieferzeit
Einfache Lösungen für komplexe Anwendungen
Hohe Servicequalität durch geschulte und motivierte Mitarbeiter
Stetige Lieferbereitschaft durch hohe Lagerhaltung
Ineinandergreifen von Tradition, Know-How und fortlaufende Weiterentwicklung
Copyright © 2024 Seilerei Voigt